目录
项目概述
RT-Thread使用情况概述
硬件框架
软件框架说明
演示效果
改进方向
代码地址
1 项目概述
本项目是一个简易的、较高精度的、易于扩展的桌面级温控系统。实现对箱内温度的精确控制,并通过Wi-Fi接入网络,配套了功能完善的Web可视化监控和调参Dashboard,实现了完整的物联网闭环。整个项目充分利用了RT-Thread多线程、设备驱动框架和网络组件的能力,实现了一个软硬件结合的完整解决方案。
硬件平台:NXP FRDM-MCXA156
RT-Thread版本:5.2.1
核心功能:
整机最大功耗24W
温控范围常温~70°C(接入制冷片/更高温的PTC可以拓展范围)
较高精度的恒温控制(最大波动范围3°C,稳态波动范围1°C)
多传感器数据融合
OLED本地显示
Web远程监控与在线调参
项目亮点:级联PID+前馈复合控制算法、三态控制状态机、TCP-WebSocket桥接的Web可视化方案。
2RT-Thread使用情况概述
RT-Thread作为项目的核心操作系统,为功能的实现提供了坚实的基础。其稳定可靠的内核、丰富的组件和简洁的API,让整个开发过程事半功倍。
内核与调度器:项目创建了多个线程来处理不同任务,包括主控线程、PID控制线程、OLED刷新线程、网络服务线程和LED指示线程。利用RT-Thread的抢占式调度器,确保了温度控制等高优先级任务的实时性。
设备驱动框架:通过RT-Thread统一的设备模型,轻松地操作了多个硬件外设:
Pin设备:用于控制LED指示灯和加热/散热模式切换的继电器。
ADC设备:用于读取NTC热敏电阻的电压值,进而计算PTC加热片的实时温度。
PWM设备:用于精确控制PTC加热片和散热风扇的功率输出。
I2C设备:用于驱动OLED显示屏(基于u8g2软件包)和读取板载P3T1755环境温度传感器。
Sensor框架:用于读取DHT11、P3T1755传感器数据。
网络协议栈:使用了内置的lwIP协议栈和SAL套接字抽象层,快速实现了稳定可靠的TCP服务器,为远程监控提供了数据通道。
WLAN无线框架:通过rt_wlan_connect接口,便捷地实现了Wi-Fi网络连接功能。
FinSH/MSH命令行:通过自定义的get_status和tune命令,所有关键参数都可以在运行时通过串口动态调整。
软件包生态:
u8g2:本地UI图形库。
dhtxx:DHT11温湿度传感器软件包。
p3t1755: 板载I2C温度传感器软件包。
3 硬件框架
系统硬件由核心控制、传感器、执行器和人机交互四部分组成

核心控制器:NXP FRDM-MCXA156开发板。
传感器模块:
箱内温湿度:DHT11传感器,通过RT-Thread Sensor框架读取。
PTC表面温度:NTC热敏电阻,通过ADC采样并使用Steinhart-Hart模型计算,用于内环控制和过温保护。
环境温度:开发板板载的P3T1755 I2C传感器。
执行器模块:
加热:LR7843 MOSFET驱动PTC陶瓷发热片,通过PWM信号调节功率。
散热:12V直流风扇,同样由PWM信号驱动。
模式切换:通过一个继电器切换PWM输出信号到MOSFET或风扇,实现加热/散热模式的自动切换。
人机交互模块:
本地:SSD1306 OLED显示屏,实时显示系统状态、当前温度、目标温度等关键信息。
远程:通过Wi-Fi连接,在PC或手机浏览器上访问可视化Dashboard。
硬件连线图

4 软件框架说明
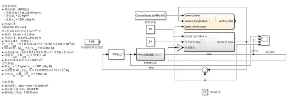
软件的核心是一个基于main.c中的三态状态机和pid_entry线程中的级联PID控制算法。

软件模块说明
主控与状态机 (main.c)
main函数负责初始化所有设备(传感器、PWM、ADC、Wi-Fi),并创建各个应用线程。
main函数内的while(1)循环是系统的主状态机。它周期性地读取箱内温度,并与目标温度和迟滞范围(hysteresis_band)比较,自动在HEATING(加热)、WARMING(保温)、COOLING(散热)三种状态间切换。
状态切换时,会通过STATE_PIN控制继电器,将PWM信号通路切换到对应的执行器(PTC或风扇),并重置PID积分项,防止状态突变。
核心控制算法 (pid_entry线程)
这是一个独立的线程,以更高的频率(CONTROL_PERIOD_MS)运行,负责核心的温度控制算法。
级联PID+前馈(加热/保温模式):
外环PID (pid_box): 根据箱内温度与目标温度的差值,计算出一个期望的PTC目标温度 (ptc_target_temp)。这使得PTC的加热速率能根据箱内离目标的远近动态调整。
内环PID (pid_ptc): 根据PTC实际温度与外环给出的ptc_target_temp的差值,计算出PWM的调节量。这可以快速响应PTC自身的温度波动,实现更稳定的热量输出。
前馈控制: 建立了一个ptc_target_temp到base_pwm的映射表 (ff_table)。PID的输出是叠加在这个PWM基础值之上的微调,这大大加快了系统收敛速度,减少了PID积分饱和的风险。
PI控制(散热模式):
切换到散热模式后,算法切换为简单的pid_cool PI控制器,根据箱内温度与目标温度的差值直接控制风扇的转速。
过温保护: 算法实时监测PTC温度,一旦超过设定的安全阈值(PTC_MAX_SAFE_TEMP),立即将PWM输出置零,确保系统安全。
远程控制服务 (remote.c)
在remote_server_thread_entry线程中,创建了一个TCP服务器,监听5000端口。
服务器接收两种文本命令:
get_status: 将系统中所有关键的实时变量(各处温度、湿度、PID参数、控制状态、PWM占空比等)打包成一个JSON字符串返回。
tune ...: 将收到的参数直接传递给main.c中的tune()函数,实现了对目标温度、PID增益、前馈表等所有关键参数的运行时修改。
OLED显示 (screen.c)
screen_on线程负责驱动OLED屏幕。
UI界面清晰地展示了当前的工作模式(HEATING/COOLING/WARMING)、4个温度值(当前、目标、环境温度、PTC当前温度),以及一个直观的温差指示条。
5 演示效果
本地OLED显示

OLED实时显示系统关键数据
远程Web Dashboard
通过浏览器访问的实时监控仪表盘,包含仪表、状态指示和在线调参区

温度历史曲线图,可以直观地分析系统的响应速度、超调和稳态误差(K线图可以得到的信息更多,而且看起来很有趣)
MSH 命令行调试
通过串口连接,可以直接使用get_status查看系统状态,或使用tune命令修改参数。

6 改进方向
硬件
把DHT11换成更好的(比如DHT22),DHT11的精度和响应速度都不太行,我手里暂时没有其它的温度传感器了,所以只能先用这个。
功能
可以允许用户通过Web界面预设一条随时间变化的温度曲线(例如:先60℃保温30分钟,再升到70℃保温1小时),使温控箱能用于更复杂的场景。
参数优化
目前的参数还不太好,还有很大的优化空间。由于温度的变化很慢,所以如果通过实验测定最优参数的话会非常消耗时间,目前正在尝试通过建模拟真的方式寻找最优参数,因为期中有点忙,所以还没做完。

7 代码地址
本项目已开源,欢迎大家复刻。
GitHub:https://github.com/Cylopsis/Little-TempControled-Box




